Войти

Взрывобезопасные поплавковые датчики уровня

Неприхотливые в эксплуатации и несложные по конструкции датчики уровня поплавкового типа идеально подходят для мониторинга уровня жидкостей: бытовых и технических, нейтральных и агрессивных.
В некоторых процессах по нормам и правилам безопасности, для защиты людей и механизмов необходимо применять взрывобезопасное оборудование.

Специально для контроля уровня легковоспламеняющихся жидкостей и для отслеживания уровня во взрывоопасных условиях специалистами «ТЕКО» создана серия взрывобезопасных магниточувствительных датчиков MS DUG N поплавкового типа. Типовые варианты: MS DUG1-N-10MS DUG2-N-25.

Датчики изготовлены в соответствии с техническими условиями ВТИЮ.3428.019-2012 ТУ. Возможность применения во взрывобезопасных средах подтверждена сертификатом соответствия требованиям ГОСТ Р МЭК 60079-0-2011, ГОСТ Р МЭК 60079-11-2010 и ГОСТ Р МЭК 60079-18-2008.

Маркировки взрывозащиты присвоенные датчикам согласно данному сертификату:

  • PO Ex ia ma I Ma / 0Ex ia ma IIC T6 Ga для обычных и низкотемпературных выключателей
  • PO Ex ia ma I Ma / 0Ex ia ma IIC T4 Ga для высокотемпературных и широкотемпературных выключателей.
  • 1Ex ia ma IIC T6 GbX для обычных и низкотемпературных выключателей в алюминиевом корпусе, типа MS DUG1 N не предназначенных для оборудования подземных выработок шахт и рудников и их наземных строений, опасных по рудничному газу или пыли.
  • 1Ex ia ma IIC T4 GbX для высокотемпературных и широкотемпературных выключателей в алюминиевом корпусе, типа MS DUG1 N не предназначенных для оборудования подземных выработок шахт и рудников и их наземных строений, опасных по рудничному газу или пыли.

Мы сохранили простоту конструкции поплавкового датчика, не перегружая его дорогостоящими дополнительными функциями. За счет этого датчики серии MS DUG N выгоднее других, сходных предложений на рынке.

Взрывобезопасные поплавковые датчики «ТЕКО» применимы для контроля уровня топлива в автозаправщиках, легковоспламеняющихся жидкостей в агрегатах для сбора газового конденсата и нефти, уровня масла в баках гидростанций, затворной жидкости в насосах (во взрывоопасных средах) и других жидкостей, легковоспламеняющихся или находящихся в условиях со взрывоопасной концентрацией пыли и газа.

Технические характеристики:
Номинальное напряжение питания, Uном. 8,2 В
Диапазон рабочих напряжений, Uраб
без встроенного делителя 0,1... 15,8 В
со встроенным делителем 3... 15,8 В
Ток выключателя при замкнутых контактах геркона
без встроенного делителя (Uраб.-2)/(1700+Rнагр.), А
со встроенным делителем Uраб./Rнагр., А
Ток выключателя при разомкнутых контактах геркона
без встроенного делителя -
со встроенным делителем Uраб./(10000+Rнагр.), А
Количество рабочих циклов, не менее 5х10^5
Номинальный уровень, Sном От 100 мм до 1400 мм
Плотность контролируемой жидкости, не менее 750 кг/м³
Плотность жидкости,
при которой точность контроля уровня не хуже ± 3 мм
1000 кг/м³
Материал корпуса Д16Т (исполнение DUG1) ;
ЛС59-1 (исполнение DUG2)
Присоединение Провод 2х0,34 L=2м / Соединитель
Степень защиты по ГОСТ 14254-96 IP68
Возможные диапазоны температуры окружающей среды:
- 25ºС ≤ ta ≤ +75ºС
- 50ºС ≤ ta ≤ +85ºС
- 60ºС ≤ ta ≤ +90ºС;
- 40ºС ≤ ta ≤ +120ºС (для DUG1)

Электрические параметры для подключения к искробезопасной цепи с максимальными значениями:

  • Ui: 15,8 В
  • Ii: 110 мА
  • Pi: 166 мВт
  • Ci: 0,002 мкФ
  • Li: 30 мкГн
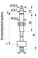
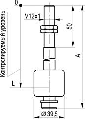
Габаритный чертеж
DUG1 DUG2 DUG1-S4 DUG2-S4
габаритный чертёж DUG1 габаритный чертёж DUG2 габаритный чертёж DUG1-S4 Габаритный чертёж DUG2-S4
Схема подключения
DUG1, DUG2 DUG1-S4, DUG2-S4
схема подключения DUG1-N схема подключения DUG1-N-S4

Выключатель должен использоваться в комплекте со связанным электрооборудованием, имеющим вид взрывозащиты ia согласно ГОСТ Р МЭК 60079-11-2010. Связанное электрооборудование должно иметь маркировку взрывозащиты [Ex ia]I или [Ex ia]IIC. Рекомендуем в качестве связанного оборудования использовать блоки сопряжения «ТЕКО».


Войдите в профиль
Войдите или зарегестрируйтесь
Каталог
Отраслевые решения
Мы используем cookie. Это позволяет улучшить работу сайта, повысить его эффективность и удобство. Продолжая пользоваться сайтом, вы соглашаетесь с использованием файлов cookie и c нашей политикой конфиденциальности.
Согласен